科创早知道1018
2021-10-18 08:37:42
来源:中国证券网
【三十而立正青春 风华正茂启新程】
【感谢30年的信任和支持】
【欢迎关注
上海证券报
微信公众号】

2021年10月18日
【宏观动向】
习近平在《求是》杂志发表重要文章《扎实推动共同富裕》指出,
要积极稳妥推进房地产税立法和改革
,做好试点工作;
要加大消费环节税收调节力度
,研究扩大消费税征收范围;
着力扩大中等收入群体规模
,增加城乡居民住房、农村土地、金融资产等各类财产性收入。
李克强在广东考察时强调,
要保障发电企业合理融资需求,落实完善燃煤电价扩大浮动范围政策
;要继续采取措施防止大宗商品价格上涨向供应链下游传导。
央行货币政策司司长孙国峰上周五表示,将综合运用多种货币政策工具,
保持流动性合理充裕
;正抓紧
推进碳减排工具的设立
,将支持清洁能源,节能环保,碳减排技术三个重点领域;恒大风险对金融行业的外溢性可控,将配合做好项目开工的金融支持。
央行金融市场司司长邹澜上周五表示,央行和银保监会已指导主要银行
准确把握和执行好房地产金融审慎管理制度
,保持房地产信贷平稳有序投放。
【行业聚焦】
10月17日上午,
风电伙伴行动方案落地
,方案明确,“十四五”期间,全国“风电下乡”总装机规模达达50GW,成本最低降至0.1元/度,海上风电力争在2024年全面实现平价。
国务院医改领导小组日前印发《关于深入推广福建省三明市经验深化医药卫生体制改革的实施意见》提出,
各地要常态化制度化开展药品耗材集中带量采购
,逐步扩大采购范围。
教育部决定在上海、深圳、成都等
12地设立教育部基础教育综合改革实验区
,深化基础教育综合改革。
近日,
证监会公布合格境外投资者可参与金融衍生品交易品种
,新增开放商品期货、商品期权、股指期权三类品种,自2021年11月1日施行。
据上海钢联发布数据显示,15日
部分锂电材料报价继续上涨
,电解钴涨1000元-3000元/吨;电解液涨1000元-4000元/吨,正极材料中,钴酸锂涨1万元/吨。
美国证交会批准首只比特币期货ETF
,向更广泛的投资者开放加密货币交易。
鸣石投资
深夜发8人联合声明称,
已妥善解决分歧将办理工商登记,袁宇李硕职务不变
。
【公司热点】
小米集团宣布进行组织调整及干部任命。任命集团副总裁、CFO
林世伟兼任天星数科CEO
,相关工作向天星数科董事长洪锋汇报。任命
李肖爽担任小米汽车副总裁
,负责产品、供应链及市场相关工作,
向小米汽车CEO雷军汇报
。
搜狗CEO王小川15日发布内部邮件称,即日起,搜狗融入腾讯大家庭。
王小川
指出,根据383天前的约定,10月15日也是其
卸任搜狗CEO的日子
。这封邮件,代表着其与搜狗的正式告别。
广州肿瘤筛查企业康立明生物完成5.6亿元融资。
本轮融资由阿里巴巴领投,老股东IDG资本继续加持,华兴资本旗下华兴新经济基金、基石资本、农银国际、衡庐资产等知名投资机构跟投,华兴资本担任独家财务顾问。
AMOLED驱动芯片供应商昇显微完成亿元A轮融资。
本轮融资由行业知名投资机构元禾璞华和中芯聚源领投,超越摩尔、红土湛卢、汇琪投资、锍晟投资跟投。融资资金将用于昇显微新品研发、生产投入以及人才建设等。
金融科技公司Juni完成5200万美元A+轮融资。
EQT Ventures领投,FJ labs以及原有投资者DST Global、Felix Capital和Cherry Ventures跟投。
“云徙科技”获近亿美元D轮融资。
2个月前,云徙科技完成腾讯投资的C轮融资。新一轮融资由凯欣资本领投,交银国际、湖畔宏盛跟投,老股东腾讯、红杉中国基金、襄禾资本继续加持,泰合资本担任独家财务顾问。
【公司公告】
前沿生物:
前三季度净亏损达1.77亿元
。
格科微:
拟出资8657.36万元合作建立产业基金对外投资
。
海尔生物:317.07万股战略配售股
10月25日解禁
。
瑞松科技:董事兼副总裁刘尔彬
拟减持不超20万股
,即不超过公司总股本的0.30%。
海目星:招银一号
累计减持股份达1%
。
【科技前沿】
欧核中心发布首份“量子技术倡议”。
据欧洲核子研究中心(CERN)官网10月14日消息,CERN当天发布了其首份中长期量子研究计划路线图“量子技术倡议”(QTI)。这是一项综合性的研发、学术和知识共享倡议,CERN希望借此促进量子技术的发展并促进量子技术在高能物理学领域的应用。
迄今最低温度在实验室测得。
德国科学家最近打破了实验室测量到的最低温度纪录!据美国趣味科学网站10月14日报道,他们让磁化气体从120米高的塔上落下,测得其温度仅比绝对零度(-273.15℃)高38万亿分之一摄氏度。
蛋白质、基因组与人类疾病有了关联图。
据《科学》杂志近日发表的一项最新研究,研究人员将人体血液中的数千种蛋白质数据与遗传数据相结合,绘出了蛋白质、基因组与人类疾病的网络关系图,显示了影响这些蛋白质的遗传差异如何将多种多样的相关疾病联系在一起。
【股市概览】
截至2021年10月15日收盘,沪指涨0.4%,报3572.37点;深成指涨0.52%,报14415.99点;创业板指涨1.88%,报3276.32点。两市合计成交9890亿元,北向资金净流入26.93亿元。
上周五,美股三大指数集体收高,道指涨1.09%,纳指涨0.50%,标普500指数涨0.75%。中概券商股延续跌势,富途控股跌近14%,老虎证券跌超3%。
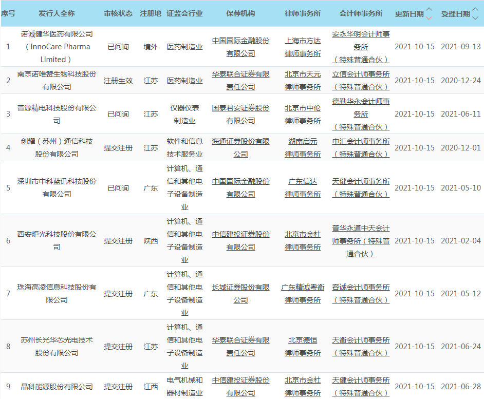
【发审动态】
截至10月15晚,共有662家公司科创板上市申请获受理,9家公司发审状态更新。

