6月25日停复牌汇总:多家公司复牌

2018-06-25 09:32:42 来源:中国证券网 作者:

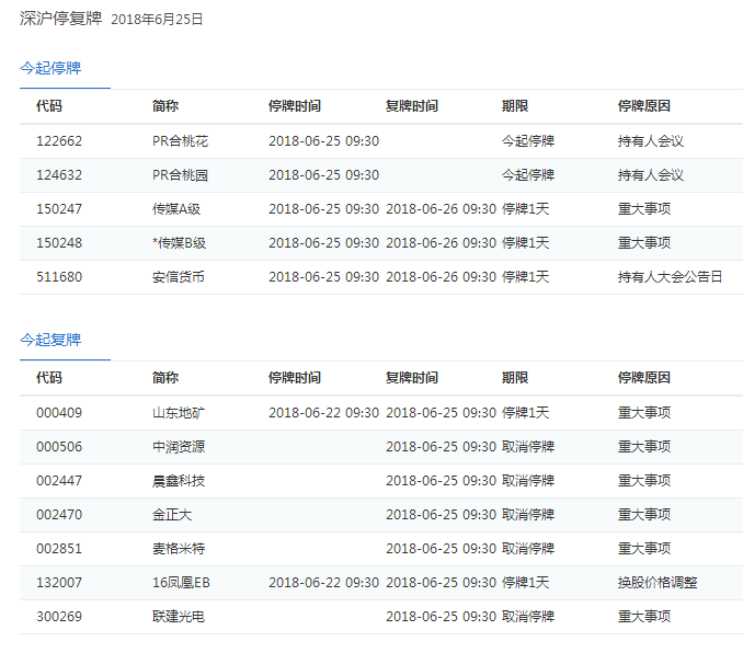
  中国证券网讯 6月25日,沪深两市停复牌如下: