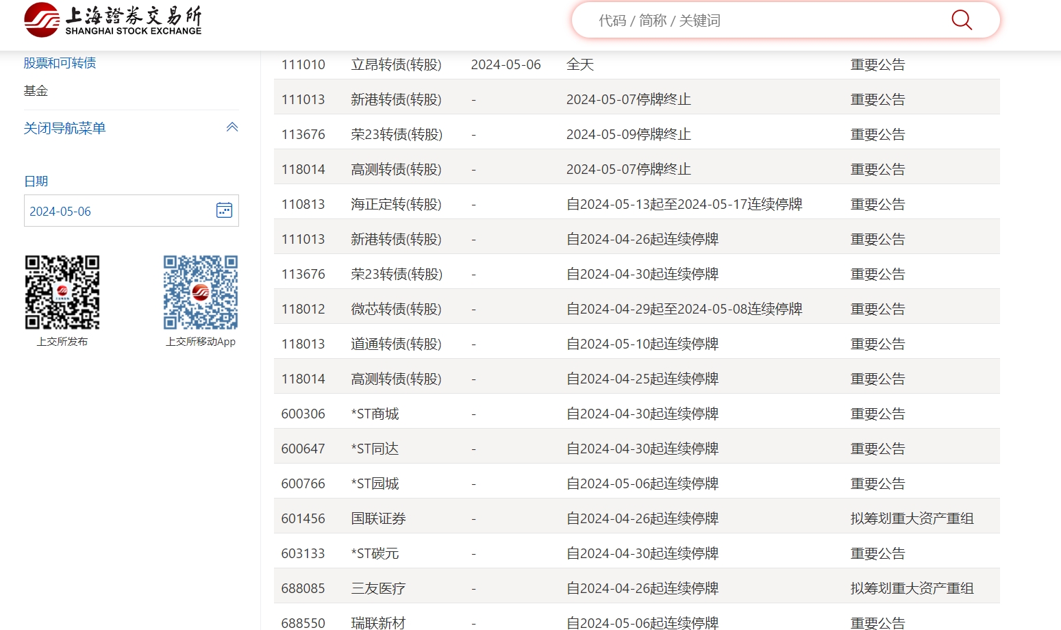
5月6日盘前停复牌汇总
2024-05-06 09:24:10
来源:中国证券网
上证报中国证券网讯 5月6日,多家公司停牌:*ST三盛、*ST园城、*ST越博、ST华铁、瑞联新材、东旭光电、东旭蓝天、威创股份、普利制药。多家公司复牌:*ST傲农、*ST巴安、*ST博信、*ST超华、*ST导航、万向钱潮。

